GDL立式多级管道泵可确保高效流体输送,非常适合提高供水和工业系统中的压力。
货号 :
GDL订单(最小起订量) :
1支付 :
Alipay PayPal westernunion L/C T/T产品产地 :
China颜色 :
Customized装运港口 :
shanghai shenzhen guangzhou交货时间 :
please contact 504893184@qq.com or CP +8613696510409包裹 :
Customized材料 :
Stainless Steel工作温度 :
≤100℃工作压力 :
≤1.6MPa立式多级管道泵
GDL立式多级管道泵是一款高效、紧凑的管道高压流体输送泵。其多级叶轮设计确保了稳定的性能,使其成为锅炉给水系统、工业循环和供水系统的理想选择。该泵体积小、坚固耐用、维护成本低。
产品优势
最新一代泵体积小巧、性能可靠、安装简便、节能高效。轴封采用耐磨机械密封,泄漏量极小,使用寿命更长;泵壳采用优质1Cr18Ni9Ti不锈钢制成。轴向力通过液压平衡控制,确保运行静音顺畅。由于其安装条件优于DL型泵,因此可以轻松集成到任何水平管道段。它完全满足深井、高层建筑及相关应用的消防、排水和供水需求。该泵适用于输送冷热水或化学物理特性与水相近的介质,是众多行业的理想之选。工作温度和压力分别为T ≤ 100°C和PN ≤ 1.6 MPa (16 kg/cm²)。
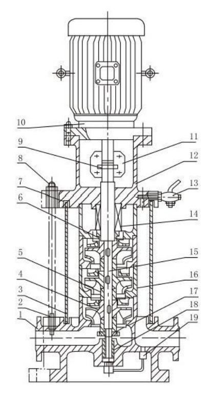
结构图

| No | 1 | 2 | 3 | 4 | 5 | 6 | 7 | 8 | 9 | 10 | 11 | 12 | 13 | 14 | 15 | 16 | 17 | 18 | 19 |
| 成分 | 泵体 | 张紧螺栓 | 外缸 | 叶轮 | 叶轮衬套 | 轴套 | 垫片 | 坚果 | 别针 | 发动机 | 耦合 | 连接座位 | 喷嘴 | 机械密封 | 轴 | 中间部分 | 轴套螺母 | 轴承 | 回水管组件 |