LW立式不间断泵可高效处理含固体废水,无需担心废水和工业应用问题。立式设计节省空间,同时避开障碍物。
货号 :
LW订单(最小起订量) :
1支付 :
Alipay PayPal westernunion T/T L/C产品产地 :
China颜色 :
Customized装运港口 :
shanghai shenzhen guangzhou交货时间 :
please contact 504893184@qq.com or CP +8613696510409包裹 :
Customized材料 :
Cast iron防堵塞立式污水泵
我公司研发了三大产品线,构成了LW(WL)系列立式污水泵。这些泵是在WQ(原QW)系列潜水式污水泵的水力模型基础上改进而来,以满足不同用户的需求和运行环境。自推出以来,LW系列凭借其先进的设计和可靠的性能,在市场上赢得了良好的口碑和赞誉。
产品应用
本产品适用于居民区污水排放站、城市污水处理厂排水系统、民防系统排水站、水处理厂供水设施、医院和酒店的污水排放、市政工程施工现场、矿山和勘探配套设备、农村沼气池以及农业灌溉等多种用途。它能够输送清水、腐蚀性介质、污水以及含有固体颗粒的垃圾。
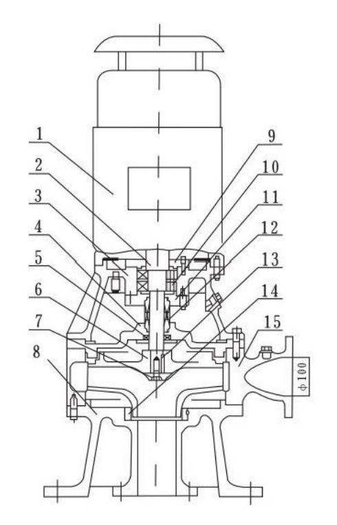
结构图

| 1 | 发动机 |
| 2 | 延伸轴 |
| 3 | 轴承座 |
| 4 | 泵盖 |
| 5 | 油封 |
| 6 | 叶轮 |
| 7 | 叶轮螺母 |
| 8 | 根据 |
| 9 | 轴承盖 |
| 10 | 轴承 |
| 11 | 机械密封座 |
| 12 | 机械密封 |
| 13 | 钥匙 |
| 14 | 泵体耐磨环 |
| 15 | 泵体 |