ZWL直联式自吸污水泵高效、耐用、防堵塞,是污水排放的理想之选。适用于农业、工业和市政领域。性能卓越,维护成本极低。
货号 :
ZWL订单(最小起订量) :
1支付 :
PayPal Alipay westernunion T/T L/C产品产地 :
China颜色 :
Customized装运港口 :
shanghai shenzhen guangzhou交货时间 :
please contact 504893184@qq.com or CP +8613696510409包裹 :
Customized材料 :
Cast iron/Stainless steel直联式自吸污水泵
该泵集成了自吸式和防堵塞污水排放功能。它采用轴向回流式外混系统,并具有独特的叶轮流道和泵体结构设计。除了能够吸入和排出含有大颗粒固体和长纤维污染物的液体外,它无需底部阀门或引水即可像典型的自吸式清水泵一样运行。它是处理轻工、造纸、纺织、食品加工、化工、电气工业、纤维、浆料和混合悬浮液等化学介质的最佳杂质泵。它也广泛应用于市政污水处理工程和池塘养殖。
产品优势
ZWL泵利用自吸功能处理含有颗粒和纤维的废水。其轴向回流式结构无需止回阀或手动注水即可实现快速自吸。电机直接连接到宽流道并经过阻抗优化后,可确保强劲的性能,同时最大限度地降低振动和噪音。由于采用坚固的铸铁或耐腐蚀材料制成,因此即使在恶劣环境下也能保持耐腐蚀和耐化学腐蚀的特性。这款小型泵可用于工业和市政废水。ZWL泵安装简便,维护成本低,是化工和水产养殖的理想之选,可提供可靠的流体输送,从而在各种应用中优化效率并降低运行成本。
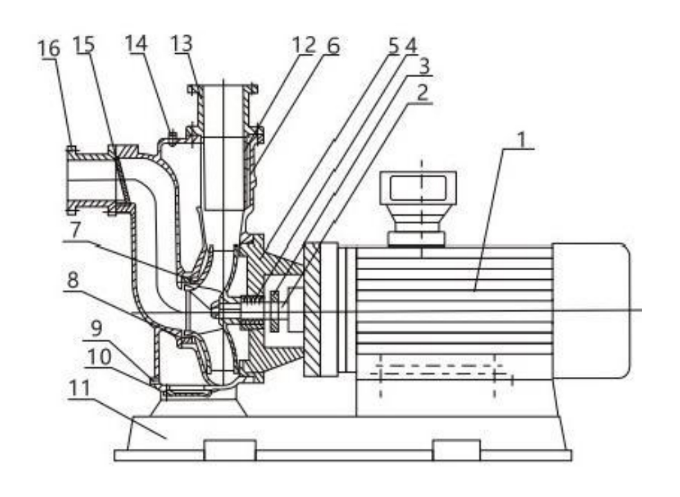
结构图

| 1 | 发动机 | 采用品牌电机,直接与水泵连接进行动力传输。 |
| 2 | 泵轴 | 与电机同轴。采用加长电机轴设计,确保同心度,使水泵运行平稳、无噪音、无振动。镀铬处理,更加经久耐用。 |
| 3 | 保水环 | 防止因密封失效而导致水渗入电机。 |
| 4 | 机械密封 | 采用不锈钢、碳化钨、氟橡胶等材料制成。平衡式设计,耐高温高压,使用寿命长,无泄漏,无轴磨损,无水垢积聚,确保清洁的工作环境。 |
| 5 | 泵盖 | 连接泵体和电机。 |
| 6 | 泵体 | 压力室、吸入室和气液分离室均采用卓越的液压模型设计,兼具美观性和高效性。配备安装支脚,便于安装,运行稳定。 |
| 7 | 叶轮 | 采用先进的液压模型设计,通常有单通道和双通道类型,具有高效率、优异的流量和可靠性。 |
| 8 | 密封环 | 密封泵叶轮与泵体之间的连接处。 |
| 9 | 排水塞 | 当泵长时间不使用时,可以排出储存的液体。 |
| 10 | 底盖板 | 可以打开以清除泵体内积聚的沉积物或碎屑。 |
| 11 | 底板 | 连接整个泵,便于安装,还可以安装减震器。 |
| 12 | 气液分离管 | 在水泵启动过程中,空气通过该管排出,水循环流动以完成自吸过程。 |
| 13 | 出水管 | 与排放管道连接。 |
| 14 | 进水阀 | 当泵的内部腔体缺少足够的液体时,可以打开加水。 |
| 15 | 止回阀板 | 当水泵停止工作时,防止水从管道倒流。 |
| 16 | 进水管 | 连接至进水管道。 |