ZXL 直联式自吸离心泵设计可靠,无需维护,并可高效自动吸水。它用途广泛,从农业输水到工业流体处理,均可胜任。
货号 :
ZXL订单(最小起订量) :
1支付 :
L/C T/T westernunion Alipay Paypal产品产地 :
China颜色 :
Customized装运港口 :
shanghai shenzhen guangzhou交货时间 :
please contact CP +8613696510409重量 :
please contact 504893184@qq.com包裹 :
Customized材料 :
Cast iron/Stainless steel直联式自吸离心泵
ZXL直连式自吸泵系列是基于国内外先进技术研发的创新产品。作为国内的开创性成果,其技术性能达到国际领先水平,展现出巨大的应用潜力和广阔的市场前景。
产品优势
ZXL 直联泵专为在严苛环境下简化流体输送而设计,无需复杂的安装。其创新设计无需止回阀或底阀,仅需少量流体即可实现可靠的自吸。这款结构紧凑、无振动的泵体占地面积缩小 30%,采用耐磨的碳化钨密封件和 IP54 防护等级的电机,是户外工业和农业应用的理想之选,维护成本低。
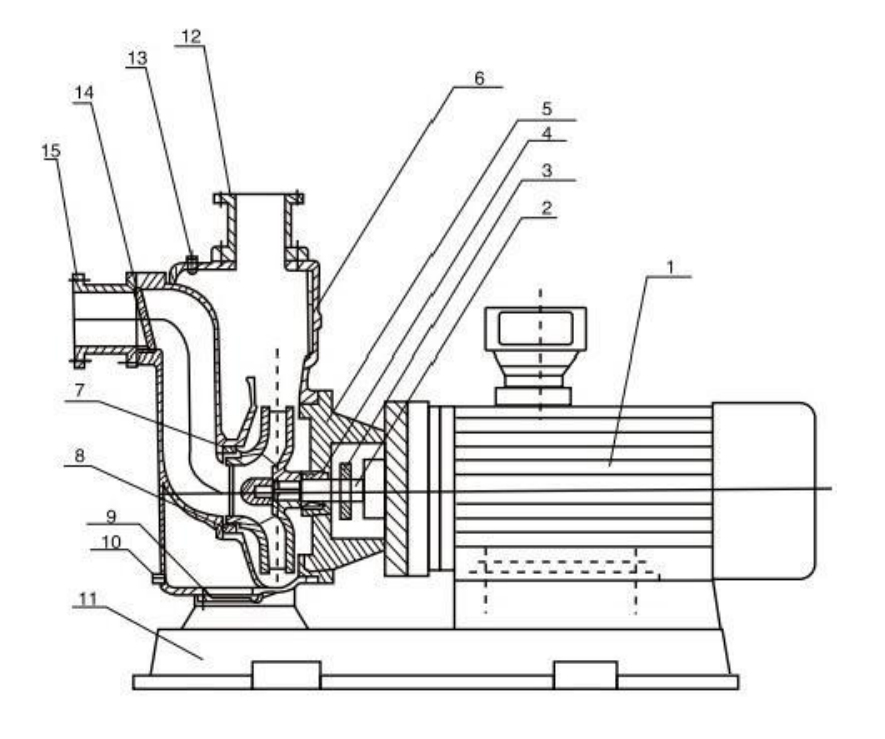
结构图

| 1 | 发动机 | 直接与水泵连接进行动力传输。采用品牌电机(CYZ-AL 型号采用防爆电机)。 |
| 2 | 泵轴 | 与电机同轴。采用加长轴设计,确保同心度,运行平稳(无噪音/振动)。镀铬处理,更加耐用。 |
| 3 | 水偏转环 | 防止因密封件泄漏导致电机进水。 |
| 4 | 机械密封 | 采用不锈钢、碳化钨和氟橡胶制成。平衡的耐高温/耐高压设计确保无泄漏运行、零轴磨损和无水垢积聚。 |
| 5 | 泵盖 | 连接泵体和电机。 |
| 6 | 泵体 | 采用优化设计的液压腔室(排液/吸入/气液分离)。配有安装支脚,确保安装稳固。 |
| 7 | 叶轮 | 高效液压设计,性能可靠。 |
| 8 | 密封环 | 密封叶轮与泵体之间的连接处。 |
| 9 | 底盖板 | 打开后可清除沉淀物。 |
| 10 | 排水塞 | 在泵长时间不工作期间排出残留液体。 |
| 11 | 底板 | 提供结构连接并支持隔振器安装。 |
| 12 | 出料喷嘴 | 连接至出水管道。 |
| 13 | 进水阀 | 当牙槽液不足时,补充牙槽液。 |
| 14 | 单向阀 | 防止水泵停机时发生回流。 |
| 15 | 进气喷嘴 | 连接至进水管道。 |